Rollico

Koszyki Łożyskowe - RRK

Koszyki Łożyskowe

Liniowy koszyk łożyskowy jest niezbędnym elementem składowym liniowego łożyska tocznego zbudowanego w oparciu o prowadnice liniowe. Głównym zadaniem koszyka łożyskowego jest utrzymywanie elementów tocznych wewnątrz łożyska na bieżniach prowadnic w odpowiedniej pozycji pracy.

Płaskie krzyżowe koszyki liniowe z tworzywa sztucznego z wałkami łożyskowymi

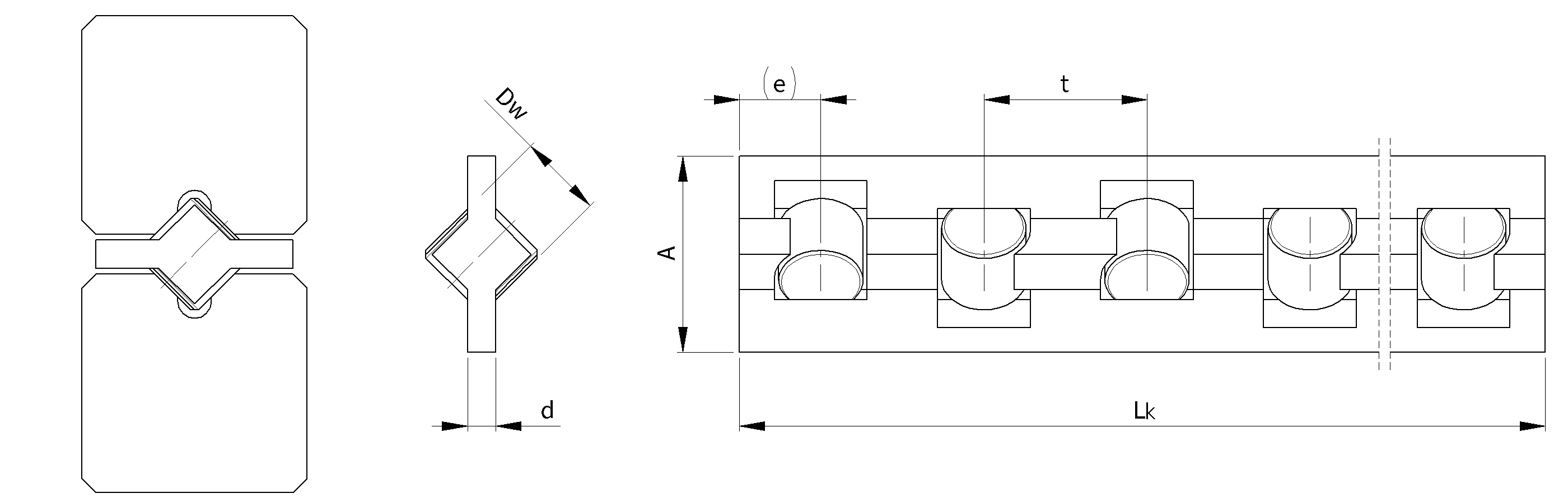
Rysunek techniczny koszyków łożyskowych RRK

Tabela wymiarów koszyków łożyskowych RRK

Średnica
wałka
Ø
Typ
/symbol
Wymiary
Nośność *
DW
t
A
d
e
C
[N]
CO
[N]
1,5
RRK1
1,5
3
3,5
0,45
2
36
58
2
RRK2
2
4
5
0,75
3
54
68
3
RRK3
3
5
7
1
3,5
132
160
6
RRK6
6
8,5
14
2,5
5
585
680
9
RRK9
9
14
20
3,5
8,5
1700
1830
12
RRK12
12
16
25
4,5
9
3000
3050
*)  - Nośność dla 1 wałka z siłą nacisku „F” zgodnie z rysunkiem.
     - Nośność odnosi się do prowadnic o twardości 60 +/- 2 HRc oraz gładkości powierzchni Ra<0,4.
     - Podstawą obliczeń nośności koszyków jest ilość wałków łożyskowych zawartych w koszyku.
     - Tolerancja długości koszyka +0/-t

Tabela ciężaru koszyków łożyskowych RRK

Tabela ciężaru koszyków (dla długości Lk=1000 mm) [g]
Typ/symbol
Tworzywo
RRK1
2,42
RRK2
6,0
RRK3
16,8
RRK6
160
RRK9
549,8
RRK12
1209,4

 

Precyzja

Tolerancja sortowania
nawet do 0,5 µm

Jakość

System zarządzania
jakością ISO 9001:2015

Doświadczenie

Ponad 20 lat doświadczenia
w technice liniowej.

Personalizacja

Produkujemy elementy pod
indywidualne wymagania.

Some Action Some Action