Koszyki Łożyskowe
Liniowy koszyk łożyskowy jest niezbędnym elementem składowym liniowego łożyska tocznego zbudowanego w oparciu o prowadnice liniowe. Głównym zadaniem koszyka łożyskowego jest utrzymywanie elementów tocznych wewnątrz łożyska na bieżniach prowadnic w odpowiedniej pozycji pracy.
RKK

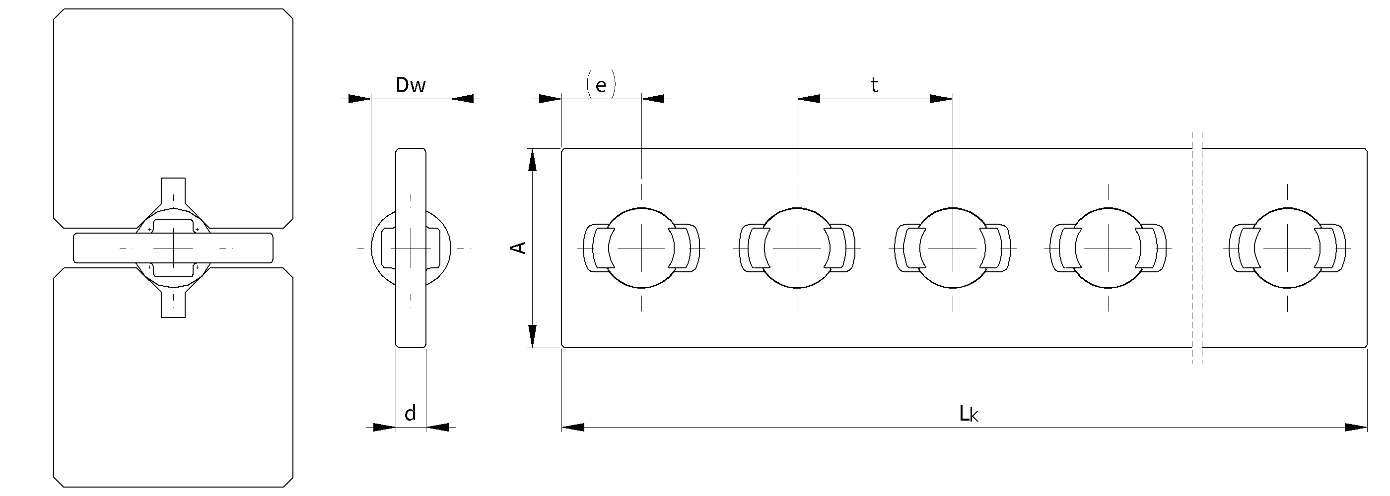
Rysunek techniczny koszyków łożyskowych RKK

Tabela wymiarów koszyków łożyskowych RKK
|
Średnica
kulki Ø |
Typ
/symbol |
Wymiary
|
Nośność *
|
|||||
|---|---|---|---|---|---|---|---|---|
|
DW
|
t
|
A
|
d
|
e
|
C
[N] |
CO
[N] |
||
|
1,5
|
RKK1
|
1,5
|
2,2
|
3,5
|
0,45
|
1,5 |
30
|
17
|
|
2
|
RKK2
|
2
|
3,9
|
5
|
0,75
|
2,1 |
75
|
30
|
|
3
|
RKK3
|
3
|
4,2
|
7
|
1
|
2,2
|
134
|
68
|
|
4
|
RKK4
|
4
|
5,8
|
6,2
|
1,3
|
|
140
|
78
|
|
6
|
RKK6
|
6
|
7,8
|
9
|
1,6
|
6
|
230
|
130
|
|
6
|
RKK6-D**
|
6
|
9
|
14
|
2,5
|
|
230
|
130
|
|
8
|
RKK8
|
8
|
12
|
12
|
2
|
|
430
|
240
|
|
9
|
RKK9-D**
|
9
|
14
|
20
|
3,5
|
9
|
540
|
300
|
|
10
|
RKK10
|
10
|
12,5
|
13,2
|
2,5
|
|
655
|
365
|
|
20
|
RKK20
|
20
|
25
|
24,2
|
3,5
|
|
1950
|
1100
|
|
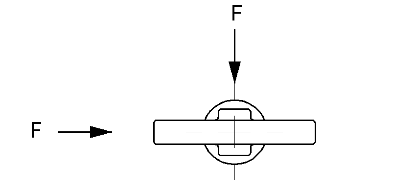
*) - Nośność dla 1 kulki z siłą nacisku „F” zgodnie z rysunkiem. |
||||||||
Tabela ciężaru koszyków łożyskowych RKK
|
Tabela ciężaru koszyków (dla długości Lk=1000 mm) [g]
|
|
|
Typ/symbol
|
Tworzywo
|
|
RKK1
|
1
|
|
RKK2
|
4,76
|
|
RKK3
|
13,33
|
|
RKK4
|
28,9
|
|
RKK6
|
94,6
|
|
RKK6-D
|
136,7
|
|
RKK8
|
230
|
|
RKK9-D**
|
476
|
|
RKK10
|
428,6
|
|
RKK20
|
336,8
|
































