Koszyki Łożyskowe
Liniowy koszyk łożyskowy jest niezbędnym elementem składowym liniowego łożyska tocznego zbudowanego w oparciu o prowadnice liniowe. Głównym zadaniem koszyka łożyskowego jest utrzymywanie elementów tocznych wewnątrz łożyska na bieżniach prowadnic w odpowiedniej pozycji pracy.
HGW

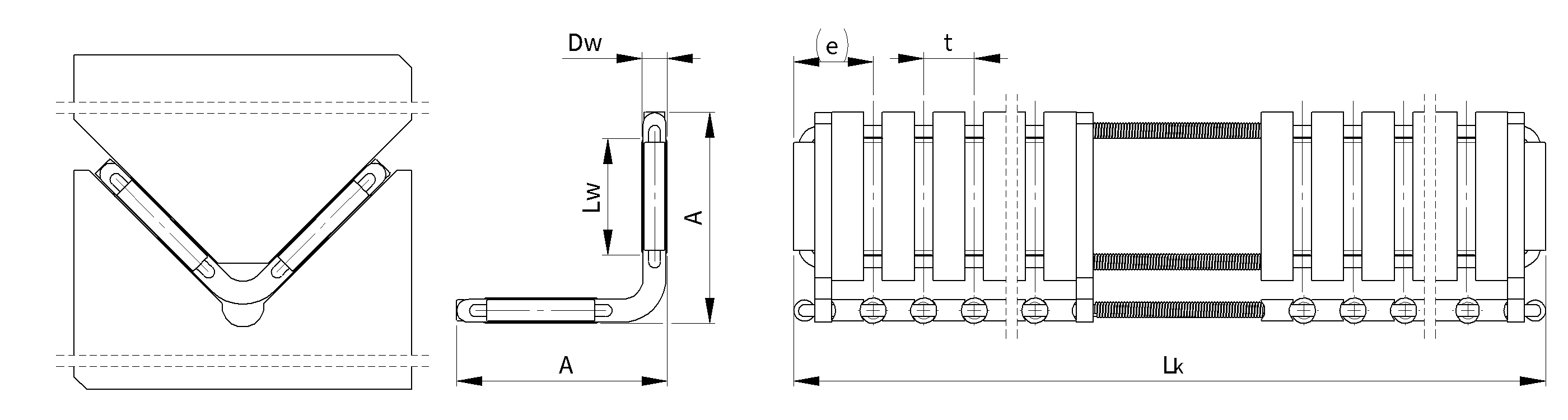
Rysunek techniczny koszyków łożyskowych HGW

Tabela wymiarów koszyków łożyskowych HGW
|
Średnica
igiełek Ø |
Typ/symbol
|
Wymiary
|
Nośność *
|
Siła tłumiąca
|
||||||
|---|---|---|---|---|---|---|---|---|---|---|
|
A
|
e
|
DW
|
LW
|
t
|
LK
max |
C
[N] |
CO
[N] |
RS**
[N] |
||
|
2
|
HGW 15
|
13,5
|
10
|
2
|
6,3
|
4,5
|
1 500
|
21 900
|
70 500
|
9
|
|
2,5
|
HGW 20
|
19,5
|
7,3
|
2,5
|
9,8
|
5
|
1 500
|
38 000
|
123 800
|
16
|
|
3
|
HGW 25
|
25
|
9,4
|
3
|
13,8
|
6
|
1 500
|
57 200
|
185 500
|
22
|
|
3,5
|
HGW 30
|
30,5
|
10,3
|
3,5
|
17,8
|
7
|
1 500
|
73 800
|
232 100
|
28
|
|
*) - Nośność dla teoretycznej długości koszyka 100 mm z siłą nacisku „F” zgodnie z rysunkiem. |
||||||||||
Tabela ciężaru koszyków łożyskowych HGW
|
Tabela ciężaru koszyków (dla długości Lk=1000 mm) [g]
|
|
|
Typ/symbol
|
Mosiądz
|
| HGW 15 | 265 |
| HGW 20 | 470 |
| HGW 25 | 760 |
| HGW 30 | 1150 |
































