Rollico

Koszyki Łożyskowe - HRW

Koszyki Łożyskowe

Liniowy koszyk łożyskowy jest niezbędnym elementem składowym liniowego łożyska tocznego zbudowanego w oparciu o prowadnice liniowe. Głównym zadaniem koszyka łożyskowego jest utrzymywanie elementów tocznych wewnątrz łożyska na bieżniach prowadnic w odpowiedniej pozycji pracy.

Kątowe koszyki liniowe z wałkami łożyskowymi

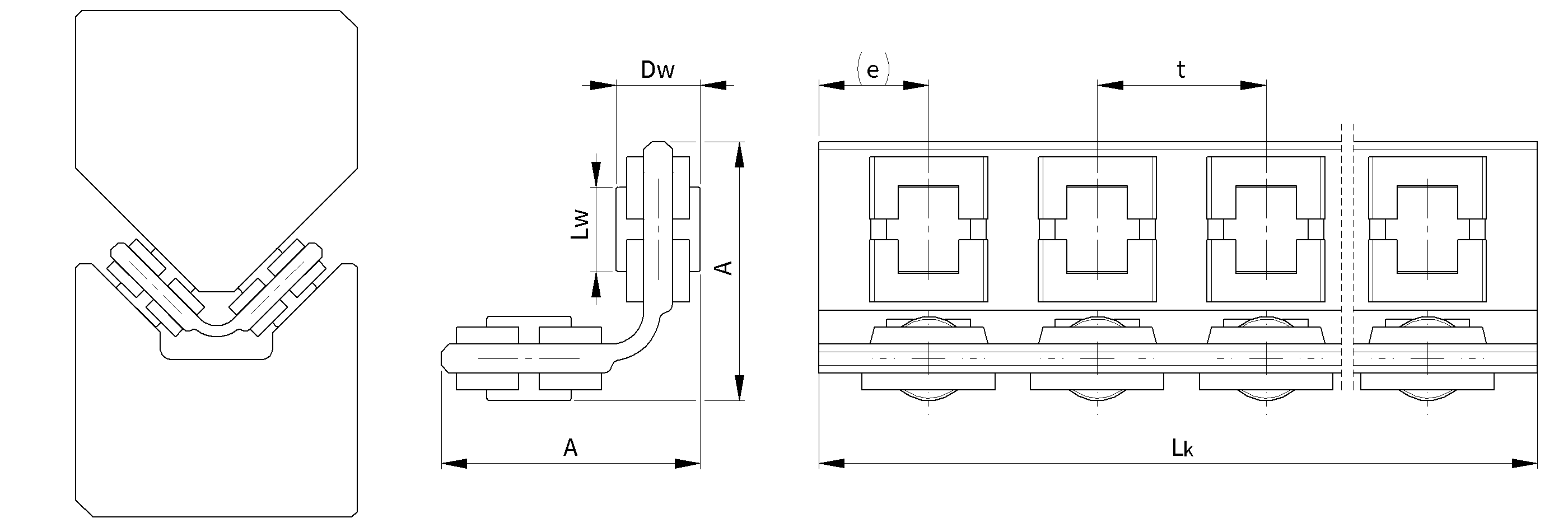
Rysunek techniczny koszyków łożyskowych HRW

Tabela wymiarów koszyków łożyskowych HRW

Średnica
wałków
Ø
Typ
/symbol
Wymiary
Nośność *
A
DW
LW
t
e
LK
max
C
[N]
CO
[N]
5
HRW 50
15,4
5
5
10
6
2 000
35 700
71 900
7
HRW 70
24,8
7
10
13
8
2 000
79 700
161 500
10
HRW 100
34
10
14
17
10
2 000
133 200
246 300
*)  - Nośność dla teoretycznej długości koszyka 100 mm z siłą nacisku „F” zgodnie z rysunkiem.
     - Nośność odnosi się do prowadnic o twardości 60 +/- 2 HRc oraz gładkości powierzchni Ra<0,4.
     - Podstawą obliczeń nośności koszyków jest ilość igiełek/wałków/kulek łożyskowych zawartych w koszyku.
     - Tolerancja długości koszyka LK +0/-t

Tabela ciężaru koszyków łożyskowych HRW

Tabela ciężaru koszyków (dla długości Lk=1000 mm) [g]
Typ/symbol
Aluminium
HRW 50 215
HRW 70 602
HRW 100 1233

 

AlAluminium

Precyzja

Tolerancja sortowania
nawet do 0,5 µm

Jakość

System zarządzania
jakością ISO 9001:2015

Doświadczenie

Ponad 20 lat doświadczenia
w technice liniowej.

Personalizacja

Produkujemy elementy pod
indywidualne wymagania.

Some Action Some Action